|
TA-16 不锈钢,1.0MPa 以下 * 不锈钢材质,耐腐蚀,使用寿命长 * 阀体虽小,但适用压力范围大 * 多种排气部件,便于灵活连接
|

|
|
特点 |
不锈钢 / 1.0 MPa |
|
类别 |
排气阀 |
|
仕様 |
适用流体 |
冷水和热水 |
|
|
压力 |
Max. 0.01 - 1.0MPa |
|
|
最高温度 |
90°(C) |
|
|
连接方式 |
JIS R 螺丝型 |
|
材料 |
阀体、盖 |
不锈钢 |
|
|
阀盘 |
氟橡胶 |
|
|
垫片 |
氟橡胶 |
|
|
浮球 |
不锈钢 |

排气连接选购件 *铜管手控阀 *铜管旋转式接头 *手控阀软管接头 *旋转式软管接头 *旋转式螺丝接头
|
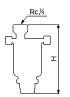
Size |
H (mm) |
Weight (kg) |
|
15A(1/2) |
118 |
0.66 |
|
20A(3/4) |
120 |
0.68 |
|
25A(1) |
124.5 |
0.74 |


感谢您访问我们的网站【http://www.kndfm.com】如有任何疑问.您可以致电给我们,我们一定会尽心尽力为您提供优质的服务。 科而进口阀门贸易有限公司www.kefm.net 版权所有,转载请注明, 订货流程:
1、客户采购清单传真至021-57470352或来电咨询021-31007789
2、收到客户采购清单,为客户提供阀门型号选型与报价(价格清单).
3、具体商定:交货期、特殊要求等事宜. |